Vozík pevný bez regulace pro závěsná vrata, 3 role 60 (V-08-4)
Závěsné brány. Bez regulace. Nedůvěryhodné. Nylonová kolečka. Pozinkované. Profil C 70/80. Deska 180x50 mm.




Vozík pro výklopná vrata. Vozíky jsou ukotveny k bráně, C-profil je ukotven ke stropu nebo ke stěně. Tyto vozíky se často používají i k jiným účelům než pro brány - například pro manipulační a zvedací mechanismy.
- Varianta V-08-4 pasuje do C-profilu 60x60x4 mm FE a do C-profilu 60x60x4 mm ZN
- Varianta V-08-3 se hodí do profilu C 70x70x4 mm FE a do profilu C 70x70x4 mm ZN
- Varianta V-08-1 je vhodná pro profil C 80x80x5 mm FE a profil C 80x80x5 mm ZN
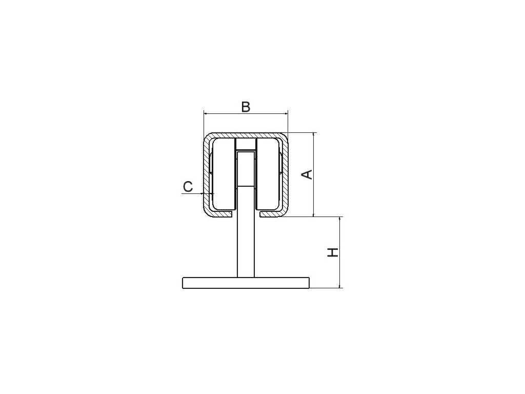
Rozměry základny vozíku
| Kód | Délka A [mm] | Délka B[mm] | Tloušťka základny C [mm] |
|---|---|---|---|
| V-08-4 | 180 | 150 | 8 |
| V-08-3 | 180 | 150 | 8 |
| V-08-1 | 180 | 152 | 12 |
![]() |
|||
Kompletní sortiment systému zavěšení
Nabízíme také menší vozíky pro závěsný systém a C-profily, držáky C-profilů, zastávky, zámky:
| Kompletní sortiment komponentů pro výklopná vrata |
|
|---|---|
| Mechanismus závěsné konstrukce se skládá z následujících základních částí: | |
| Nosná část |
- C-profil se kotví do stropu, nosníku nebo stěny. |
| Průvodcovská část |
- vodící rolky zajišťují bránu proti příčnému pohybu |
| Volitelné doplňky |
- zámky pro zajištění horních dveří |
Výkres vozíku 60×60×4 :
360° :
Doplňkové parametry
| Kategorie: | Pro C-profil 83x79x11 mm |
|---|---|
| Hmotnost: | 1.6 kg |
| A [mm]: | 60 |
| B [mm]: | 60 |
| C [mm]: | 4 |
| H [mm]: | 41 |
Diskuze
Buďte první, kdo napíše příspěvek k této položce.


