Zámek LOCINOX pro bránu s profilem 40x40 mm, antracit, LAKZ4040P1L7016VCAP
Pro profil: 40x40 mm.
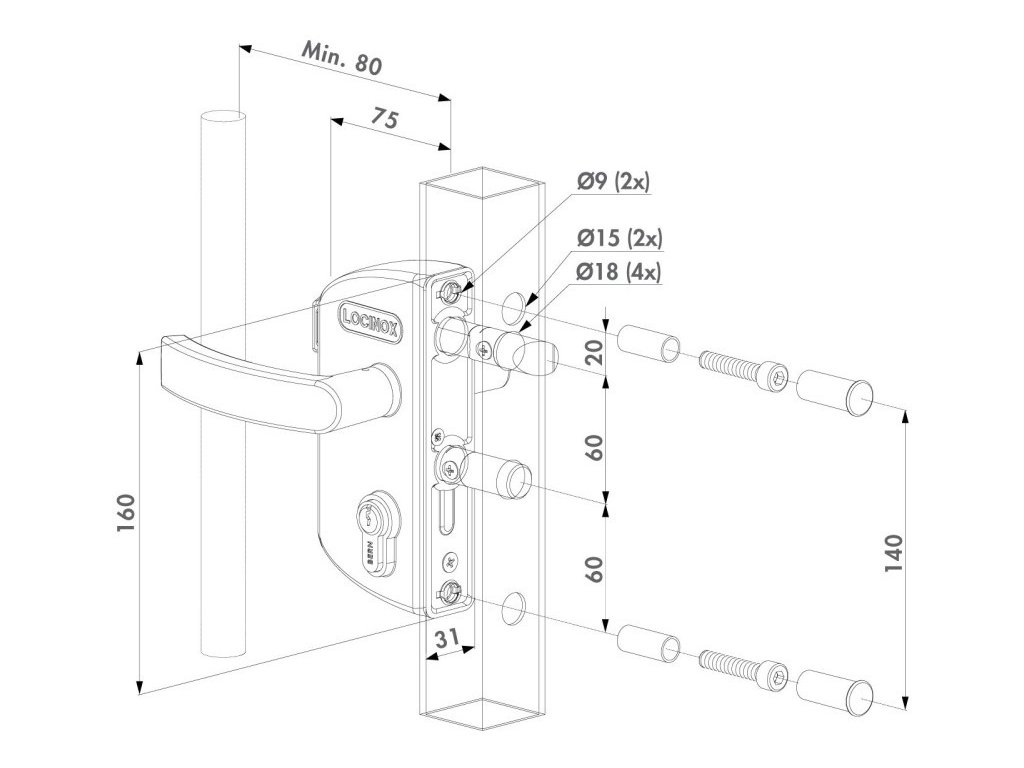
Výška zámku: 160 mm.
Šířka zámku: 75 mm.




Zámek pro křídlové brány Locinox LAKZ4040, montovaný přímo na profil. Zámek je určen pro profil brány 40x40 mm.
Kryt zámku je vyroben z polyamidu s mechanismus a západka z nerezové oceli. Součástí sady zámku je také polyamidová rukojeť spolu s fab, ale nikoliv jekl. Zámek je kompatibilní s klasickou 54mm fabkou (27/27).
Snadná výměna za levá nebo pravá strana.
Otočením klíče se zámek zajistí o 23 mm.
Vyšší pořizovací cena povrchových zámků Locinox je vyvážena tím, že se jedná o výrobek 4 v 1, tj. představuje čtyři výrobky, které byste jinak museli kupovat zvlášť, a to: zámek, zámkovou kazetu - pouzdro zámku, cylindrickou vložku a kliku. Další výhodou je snadná montáž, kdy se pouze vrtají otvory a není třeba frézovat drážky, otvory pro faby atd. V neposlední řadě je důležité zmínit, že zámek je 100% navržen a testován pro venkovní prostředí a jeho hlavní součásti jsou z nerezové oceli.
VZOREK PREFABRIKOVANÉHO ZÁMKU:

Doplňkové parametry
| Kategorie: | Povrchové zámky Locinox |
|---|---|
| Hmotnost: | 1.5 kg |
Diskuze
Buďte první, kdo napíše příspěvek k této položce.
