Vnitřní doraz do C-profilu závěsné brány 34×31×2,0<br /> 42×52×2,5 (ZB-DV1PM)
Vnitřní zarážka s gumou. Povrchová úprava: zinek. Dvě velikosti.

Řešení pro všechny situace
vašich posuvných bran.

Pomůžeme s výběrem
správné možnosti.

Garance doručení
zásilky k vám.

Ověřeno zákazníky
12 let na trhu.
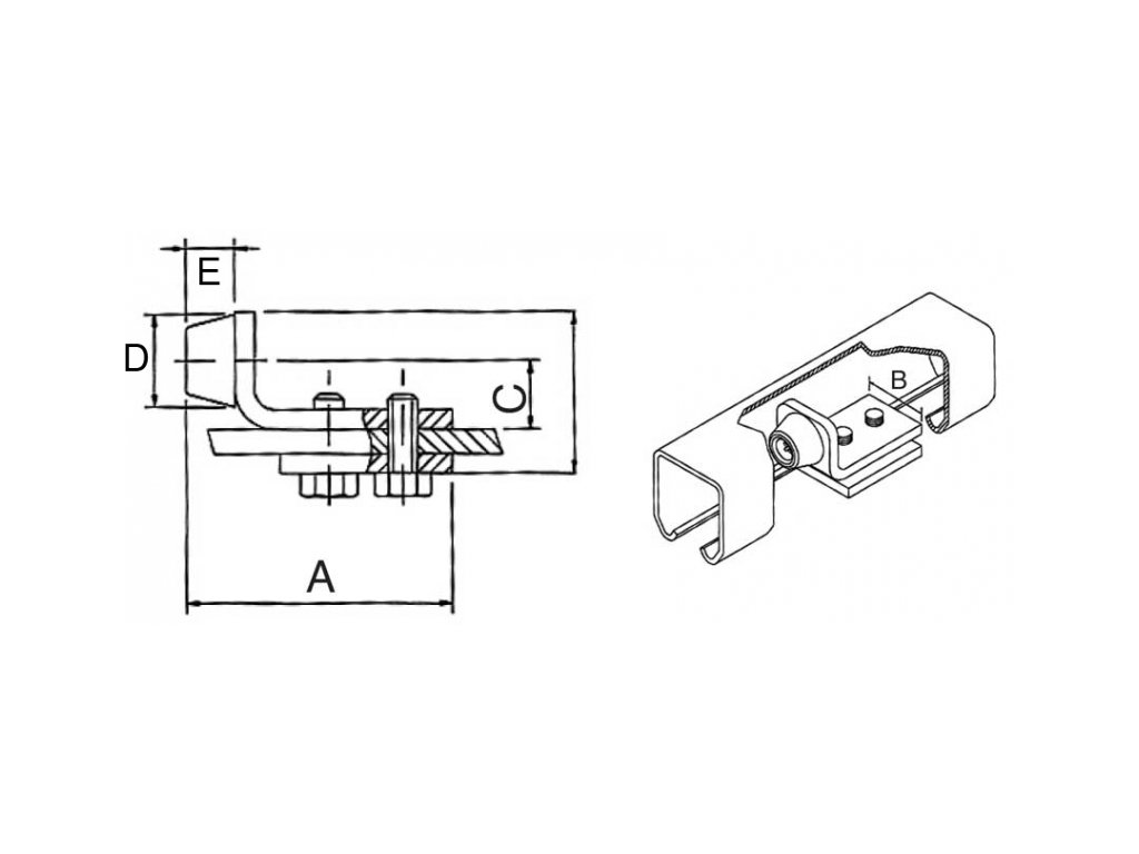
Na koncích C-profilu je umístěn vnitřní doraz, který zabraňuje vytažení vozíků z C-profilu. Kotví se přitažením desky k tělesu zarážky ze spodní strany C-profilu pomocí dvou šroubů. Na konci zastávky je guma pro měkkou zarážku.
Zastávky jsou vhodné pro profily C:
| ZB-DV1PM | C-profil 34x31x2,0 pro závěsnou posuvnou bránu |
|---|---|
| C-profil 42x52x2, 5 pro zavěšení posuvné brány | |
| ZB-DV2G | C-profil 57x67x3,0 pro závěsnou posuvnou bránu |
Příklad umístění vnitřního dorazu v profilu C

Doplňkové parametry
| Kategorie: | Vnitřní dorazy pro závěsné brány |
|---|---|
| Hmotnost: | 0.12 kg |
| pro C-Profil: | 34×31×2,0 42×52×2,5 |
| A [mm]: | 55 |
| B [mm]: | 25 |
| C [mm]: | 14 |
| D [mm]: | 19 |
| E [mm]: | 10 |
Diskuze
Buďte první, kdo napíše příspěvek k této položce.
