Posuvný vozík s 9 rolemi pro C-profil 98x98x5
Průjezd 8,5 m. Kolísavý. Kovová kola. Galvanický zinek. Celokovové. Profil C 98.




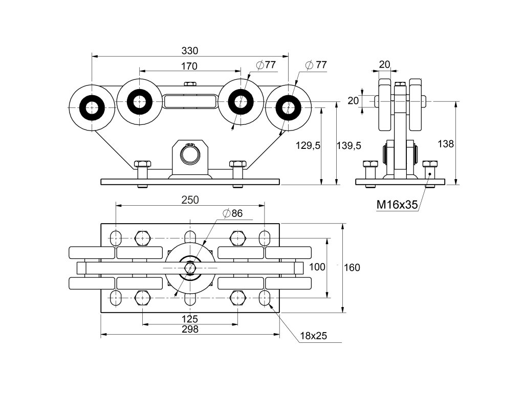
Celokovový vozík pro samonosné posuvné brány s hmotností do 550 kg a se šířkou průjezdu do 8,5 m.
- Varianta V-09-9 je vhodná pro profil C 98x98x5 mm FE a profil C 98x98x5 mm ZN
Možnost regulace vozíku umožňuje "doladit" sklon brány a tím i její plynulý chod (i s ohledem na terén nebo sklon průjezdu).
Výkyv vozíku slouží k rovnoměrnému rozložení hmotnosti/tlaku brány na všechny ložiskové válečky vozíku v každém okamžiku pohybu brány.
Možnost zakoupení vozíků se slevou Sada komponentů pro výrobu samonosných bran. Všechny cenově zvýhodněné sady pro samonosné brány.

Kotvení samonosných vozíků pro přepravu bran:
Nosné vozíky lze ukotvit:
- pro závitové tyče, které se betonují přímo do základu
- pro závitové tyče chemicky spojené s již vyzrálým betonovým základem
- pro zatloukání kotev do již vyzrálého betonového základu
Otvory v montážních deskách mají nejužší rozměr 18 mm a jsou ukotveny pomocí závitu M16. Všechny postupy jsou relevantní, záleží na tom, s čím máte lepší zkušenosti.
360° :
Doplňkové parametry
| Kategorie: | Kovové rolny |
|---|---|
| Hmotnost: | 18.3 kg |
Diskuze
Buďte první, kdo napíše příspěvek k této položce.
